1. 91视频IOS下载,91视频精选,91视频成人污,91视频一级黄片

    

    language 中文简体 中文繁体 English 目录在线 目录下载 收藏91视频IOS下载在线留言站点地图

    91视频IOS下载电机散热风扇厂家专注如AC91视频一级黄片,DC直流散热风机生产
    深圳工厂:0755-28035670业务专线:13603004952

    台湾91视频IOS下载 - 32年散热风扇研发制造工厂

    Taiwan SANJU Electric

    深圳市91视频IOS下载电机有限公司

    聚焦91视频IOS下载,了解更多风扇知识

    ​一种电脑主机壳内部的散热风扇组装结构

    返回列表 发布日期: Mar 23, 2020

    本文涉及一种电脑主机壳内部的散热风扇组装结构,特别是利用此种组装结构,可以将散热风扇调整到最接近会产生热量的元件的位置,以提高电脑主机的散热效率。

    一般的电脑主机壳体内部均会在主机板上设置中央处理器(CPU)、多数个IC晶片与至少-一个电源供应器,而CPU与IC晶片在运算时会产生热量,运算速度越快,所产生的热量越高;尤其是网络伺服器中的CPU与IC晶片由于必须处理大量的资料,其所产生的热量更较一般的家用电脑高出很多;电源供应器动作时也会产生热量;主机壳体内部的热量若不能及时排除,将会影响CPU与IC晶片的性能,甚至导致烧毁。因此,电脑制造商均十分注重主机的散热效率。

    散热风扇

    一般大型的网络伺服器主机内部空间通常较家用电脑的主机空间大,所设置的元件通常也较多,因而产生的热量较-般的家用电脑更多;虽然主机壳体的后方-般都会设置散热风扇来排除主机壳体内部的热量,但是因为网络伺服器的每一个单元主机壳体的内部空间受到特定规格尺寸的限制,再加上设在主机板上的多数连接槽已几乎占满了主机壳体后方的面板,无法再设置多余的散热风扇,因而仅能利用设在电源供应器本身所设置的散热风扇作为将主机壳体内部的热量排出的主要散热元件;又因为伺服器主机的内部空间较大,为了提高散热效果,通常也会在主机壳体内部的接近中间位置设置复数个排成一列的散热风扇,藉由这些内部的风扇先将会发热的元件所产生的热量抽取到主机壳体的后方,再由电源供应器的风扇将热空气进-步排出主机壳体外。

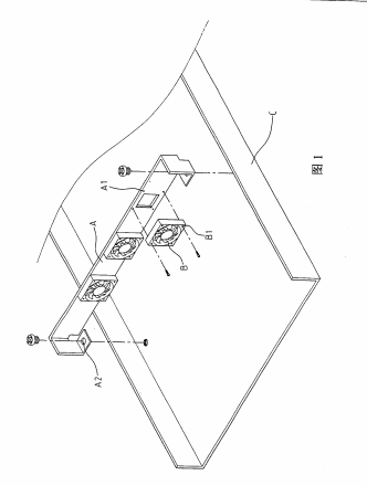
    如图1所示,传统上在网络伺服器主机壳体内部的风扇组装结构,是在一长条板状的固定座A的固定位置设置复数个螺孔A1,而且通常是以四个螺孔为一组,每-组的四个螺孔A1均对应于一般散热风扇 B所设的四个洞孔B1的位置,藉以利用螺丝穿过风扇B的洞孔B1后再锁入螺孔A1以将风扇B固定在固定座A上;固定座A的下方则设有复数洞 孔A2,其提供利用螺丝穿过该洞孔A2而锁固于主机壳体底部。

    基于提高散热效率的考虑,使用者有时会视情况调整主机壳体内部的散热风扇位置,以让风扇更接近发热的元件。但由于前述传统的固定座是以四个洞孔为-组以用来组装一个散热风扇,所以相邻两组洞孔之间的间距.很大,风扇由其中一组洞孔拆下而欲安装于相邻的另-组洞孔时,因为风扇的位移量很大,如一来即不容易小幅度地调整风扇最接近发热元件的位置,因而无法达到更高的散热效率。

    本文是基于前述设在主机壳内部的风扇组装结构所存在的缺陷加以改进。

    本文的主要目的在提供一种电脑主机壳内部的散热风扇组装结构,其是在主机壳体的内部底面上较密集的设置复数凸部,而且在主机壳体上设有横梁,另外提供用来安装散热风扇的独立固定座,乃将固定座的上、下方分别固定于所述的横梁与凸部,因而使固定座在变换所固定的位置时,可以缩短其位移量,进而让安装于固定座的散热风扇可以被小幅度地调整与发热元件的距离,以提高其散热效率。

    基于此,本文所提供的电脑主机壳内部的散热风扇组装结构,是在主机壳体的底面上设置复数凸部,且在主机壳体的上面设有横梁,该横梁设置有复数对应于每一凸部位置的螺孔;另外所设用来组合散热风扇的固定座上、下方分别设有洞孔,利用下方的洞孔套合于主机壳体底面的凸部,而上方的洞孔则利用螺丝锁固于横梁上,以将固定座固定在主机壳体;该固定座可以很方便地组装及拆卸,进而容易因应所欲散热的元件的位置而变换散热风扇位置。


    
    关闭

    微信公众号

    咨询热线
    +86-755-2803-5670
    在线客服
    top
    网站地图